半導体用語集
PHS
英語表記:Personal Handyphone System
PHSは、1995年7月にサービスが開始された日本のデジタルコードレス電話である。電波としては1.9GHz帯が用いられ、変調方式はπ/4-shift QPSK、通信方式はTDMA/TDD、音声圧縮方式は32kbpsのADPCMコーデックである。
規格化当初は、家庭用コードレス電話を屋外へ持ち出す簡易型携帯電話として位置づけられたが、基地局の広範囲への設置により、歩行速度程度の移動を前提とした公衆携帯電話として普及している。また、Piafs方式を使った32 kbps高速無線データ伝送を実現でき、これを活用したメールコンテンツなどの各種データサービスも展開されている。
PHSの通信方式TDMA/TDDでは、一つの周波数帯の時間5msを8スロット(625µs単位)に分割し、前半4スロットを受信用に、後半4スロットを送信用に使い分けている。1通話には送受各1スロットのみが使われ、残りの空き3スロットは、他の通話に使うことができる。よって、電波の送受は4スロットに1回行えばよく、その期間のみバースト的に電流を消費することになる。これにより、従来の連続電流消費が必要だったアナログ方式の携帯電話にくらべ大幅な消費電流削減ができ、PHSの通話時間・待ち受け時間は大幅に改善された。また、消費電流の低減は、電池の小型・軽量化を押し進め、端末の大きさ・重さの面でも大幅な改善が行われた。
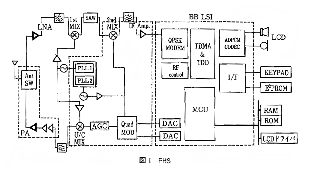
PHS端末は、1.9GHzの高周波信号を送受するRF部と、音声信号を処理し通信手順の制御をするベースバンド部の2ブロックから構成される。RF部の中心は、信号処理の基準となるPLLシンセサイザである。受信系を構成する半導体は、LNA、ミキサ、IFアンプである。送信系は、IF変調、ミキサ、パワーアンプ、アンテナスイッチから構成される。RF部の小型化のため、PLL・IFアンプ・IF変調・送受ミキサは、Bi-CMOSプロセスにより1チップに集積化されている。パワーアンプ・アンテナスイッチ・LNAも、GaAsかバイポーラプロセスで1チップ化されている。
ベースバンド部は、MODEM、TDMA、ADPCMコーデックの機能ロジック回路に、ADC/DACのアナログ回路をCMOSプロセスで1チップ化したものが一般である。さらに、通信手順の制御(プロトコルソフト)を実行するマイコンを内蔵した1チップベースバンドも実現されている。
これら半導体の集積化により、PHS端末の小型化が進み、60cc台の端末が登場した。さらに、腕時計型のハンズフリーPHSも実現され、長野オリンピックで使われた。
関連製品
「PHS」に関連する製品が存在しません。キーワード検索
フリーワードやカテゴリーを指定して検索できます
関連用語
関連特集
会員登録すると会員限定の特集コンテンツにもアクセスできます。




